Updating Bodypack Lite
Introduction
Bodypack Lite needs to be connected to the internet to be updated using MANUS Core.
Updating
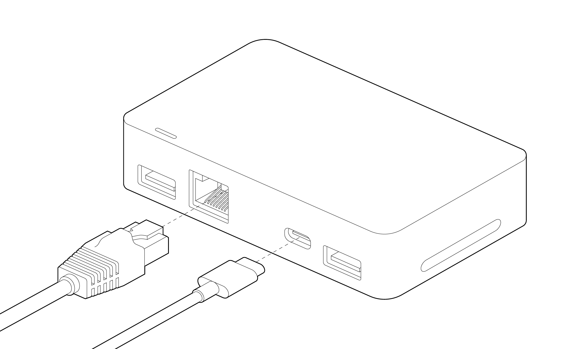
Connect your Bodypack Lite with a USB C cable for power and ethernet cable to your local network. Alternatively, you can also connect to the internet using Wi-Fi.
Open the Settings panel in MANUS Core Dashboard.
Make sure the Networked device configuration is set to Server.
Enable Connect automatically in your Networked Devices settings, if you want the Bodypack Lite to automatically connect to MANUS Core.
Open the Networked Device connections dialog.
Connect to your MANUS Bodypack Lite.
Close the Networked Device connections dialog.
Open the Devices panel in MANUS Core Dashboard.
Update your Bodypack Lite. Updating will take several minutes, do not disconnect the power or internet connection during this process.
When finalizing the update, your Bodypack Lite will disconnect momentarily. With connect automatically enabled, your Bodypack will automatically reconnect. You will need to manually connect to your Bodypack Lite otherwise. When the update is complete, a pop-up will appear.









